CITForum Море(!) аналитической информации!
IT-консалтинг Software Engineering Программирование СУБД Безопасность Internet Сети ОС Hardware

B.2. SRAM и DRAM.

Полупроводниковая оперативная память в настоящее время делится на статическое ОЗУ (SRAM) и динамическое ОЗУ (DRAM). Прежде, чем объяснять разницу между ними, рассмотрим эволюцию полупроводниковой памяти за последние сорок лет.

B.2.1. Триггеры.

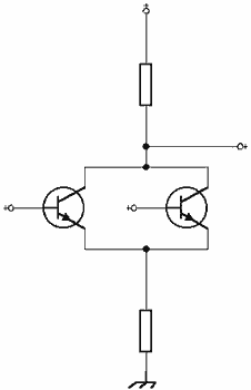
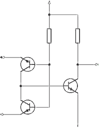
Триггером называют элемент на транзисторах, который может находиться в одном из двух устойчивых состояний (0 и 1), а по внешнему сигналу он способен менять состояние [Информатика в понятиях и терминах/М., Просвещение, 1991 г. — 208 с.: ил. — стр. 91]. Таким образом, триггер может служить ячейкой памяти, хранящей один бит информации. Любой триггер можно создать из трех основных логических элементов: И, ИЛИ, НЕ. Поэтому все, что относится к элементной базе логики, относится и к триггерам. Сама же память, основанная на триггерах, называется статической (SRAM)

B.2.2. Элементная база логики.

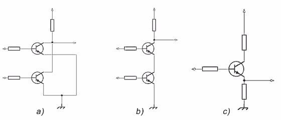
  1. РТЛ —резистивно-транзисторная логика. Исторически является первой элеентной базой логики, работающей на ЭВМ второго поколения. Обладает большой рассеивающей мощностью (свыше 100 мВт на логический элемент). Не применялась уже в ЭВМ третьего поколения.
  2. ТТЛ, или Т2Л —транзисторно-транзисторная логика. Реализована на биполярных транзисторах. Использовалась в интегральных схемах малой и средней степени интеграции. Обладает временем задержки сигнала в логическом элементе 10— нс, а потребляемая мощность на элемент —10 мВт
  3. ТТЛ-Шотки — это модификация ТТЛ с использованием диода Шотки. Обладает меньшим временем задержки (3 нс) и высокой рассеиваемой мощностью (20 мВт).
  4. ИИЛ, или И2Л —интегральная инжекторная логика. Это разновидность ТТЛ, базовым элементом которой являются не биполярные транзисторы одного рода (pnp или npn), а горизонтально расположенного p+n+p транзистора и вертикально расположенного npn транзистора. Это позволяет создать высокую плотность элементов на БИС и СБИС. При этом потребляемая мощность равна 50 мкВт на элемент и время задержки сигнала —10 нс.
  5. ЭСЛ —логические элементы с эмиттерными связями. Эта логика также построена на биполярных транзисторах. Время задержки в них —0,5 —2 нс, потребляемая мощность —25 —50 мВт.
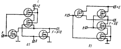
  6. Элементы на МДП (МОП) —транзисторах. Это схемы, в которых биполярные транзисторы заменены на полевые. Время задержки таких элементов составляет от 1 до 10 нс, потребляемая мощность —от 0,1 до 1,0 мВт.
  7. CMOS) КМОП —логика (комплементарная логика.) В этой логике используются симметрично включенные n-МОП и p-МОП транзисторы. Потребляемая мощность в статическом режиме —50 мкВт, задержка —10 —50 нс.

Как видно из этого обзора, логика на биполярных транзисторах самая быстрая, но одновременно самая дорогая и обладает высокой мощностью рассеяния (и значит — лучше “греется”.) При прочих равных условиях логика на полевых транзисторах более медленная, но обладает меньшим электропотреблением и меньшей стоимостью.

B.2.3. SRAM. Замечания.

Из предыдущего раздела Вы узнали, что является элементной базой статического ОЗУ. Как Вы уже поняли, статическое ОЗУ — дорогой и неэкономичный вид ОЗУ. Поэтому его используют в основном для кэш-памяти, регистрах микропроцессорах и системах управления RDRAM (смотри раздел B.3.3.5).

B.2.4. DRAM. Что это такое?

Для того, чтобы удешевить оперативную память, в 90-х годах XX века вместо дорогого статического ОЗУ на триггерах стали использовать динамическое ОЗУ (DRAM). Принцип устройства DRAM следующий: система металл-диэлектрик-полупроводник способна работать как конденсатор. Как известно, конденсатор способен некоторое время “держать” на себе электрический заряд. Обозначив “заряженное” состояние как 1 и “незаряженное” как 0, мы получим ячейку памяти емкостью 1 бит. Поскольку заряд на конденсаторе рассеивается через некоторый промежуток времени (который зависит от качества материала и технологии его изготовления), то его необходимо периодически “подзаряжать” (регенерировать), считывая и вновь записывая в него данные. Из-за этого и возникло понятие “динамическая” для этого вида памяти.

За 10 лет, прошедших со времени создания первых микросхем DRAM, их развитие шло "семимильными" шагами по сравнению с SRAM. Эволюция DRAM рассматривается в следующем подразделе.

Назад | Содержание | Вперед

 

IT-консалтинг Software Engineering Программирование СУБД Безопасность Internet Сети ОС Hardware

CITForum © 1997–2025