CITForum Море(!) аналитической информации!
IT-консалтинг Software Engineering Программирование СУБД Безопасность Internet Сети ОС Hardware

4.4. Стандарт 10Base-5

Стандарт 10Base-5 соответствует экспериментальной сети Ethernet фирмы Xerox и может считаться классическим Ethernet'ом. Он использует в качестве среды передачи данных коаксиальный кабель с диаметром центрального медного провода 2,17 мм и внешним диаметром около 10 мм ("толстый" Ethernet).

Кабель используется как моноканал для всех станций. Сегмент кабеля имеет максимальную длину 500 м (без повторителей) и должен иметь на концах согласующие терминаторы сопротивлением 50 Ом, поглощающие распространяющиеся по кабелю сигналы и препятствующие возникновению отраженных сигналов.

Различные компоненты сети, выполненной на толстом коаксиале, показаны на рисунке 5.

Станция должна подключаться к кабелю при помощи приемопередатчика - трансивера. Трансивер устанавливается непосредственно на кабеле и питается от сетевого адаптера компьютера (рис. 6). Трансивер может подсоединяться к кабелю как методом прокалывания, обеспечивающим непосредственный физический контакт, так и бесконтактным методом.

Трансивер соединяется с сетевым адаптером интерфейсным кабелем AUI (Attachment Unit Interface) длиной до 50 м, состоящим из 4 витых пар (адаптер должен иметь разъем AUI). Допускается подключение к одному сегменту не более 100 трансиверов, причем расстояние между подключениями трансиверов не должно быть меньше 2.5 м.

Рис. 5. Компоненты физического уровня сети стандарта

Рис. 5. Компоненты физического уровня сети стандарта
10 Base-5, состоящей из двух сегментов

Рис. 6. Структурная схема сетевого адаптера стандарта

Рис. 6. Структурная схема сетевого адаптера стандарта
10Base-5 ("толстый" Ethernet )

Трансивер - это часть сетевого адаптера, которая выполняет следующие функции:

  • прием и передача данных с кабеля на кабель,
  • определение коллизий на кабеле,
  • электрическая развязка между кабелем и остальной частью адаптера,
  • защита кабеля от некорректной работы адаптера.

Последнюю функцию часто называют контролем болтливости (jabber control). При возникновении неисправностей в адаптере может возникнуть ситуация, когда на кабель будет непрерывно выдаваться последовательность случайных сигналов. Так как кабель - это общая среда для всех станций, то работа сети будет заблокирована одним неисправным адаптером. Чтобы этого не случилось, на выходе передатчика ставится схема, которая проверяет количество битов, переданных в пакете. Если максимальная длина пакета превышается, то эта схема просто отсоединяет выход передатчика от кабеля.

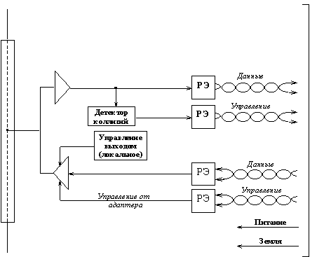
Упрощенная структурная схема трансивера показана на рисунке 7. Детектор коллизий определяет наличие коллизии в коаксиальном кабеле по повышенному уровню постоянной составляющей сигналов. Если постоянная составляющая превышает определенный порог, то значит на кабель работает более чем один передатчик.

К достоинствам стандарта 10Base-5 относятся:

  • хорошая защищенность кабеля от внешних воздействий,
  • сравнительно большое расстояние между узлами,
  • возможность простого перемещения рабочей станции в пределах длины кабеля AUI.

Рис. 7. Структурная схема трансивера

Рис. 7. Структурная схема трансивера

К недостаткам следует отнести:

  • высокую стоимость кабеля,
  • сложность его прокладки из-за большой жесткости,
  • наличие специального инструмента для заделки кабеля,
  • при повреждении кабеля или плохом соединении происходит останов работы всей сети,
  • необходимо заранее предусмотреть подводку кабеля ко всем возможным местам установки компьютеров.

Назад | Содержание | Вперед

 

IT-консалтинг Software Engineering Программирование СУБД Безопасность Internet Сети ОС Hardware

CITForum © 1997–2025