CITForum Море(!) аналитической информации!
IT-консалтинг Software Engineering Программирование СУБД Безопасность Internet Сети ОС Hardware

Протоколы маршрутизации RIP и NLSP

Маршрутизатором называется специальное устройство, которое анализирует номер сети станции-получателя и направляет пакет по оптимальному маршруту.

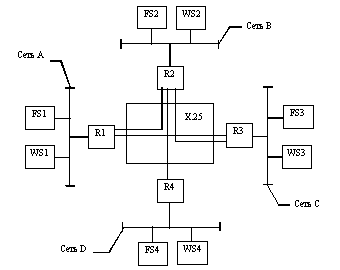
На рисунке 2.19 представлен пример сети. Здесь четыре сегмента ЛВС с номерами сетей A, B, C, D связаны между собой с помощью маршрутизаторов R1, R2, R3, R4. Связь осуществляется посредством выделенных каналов связи сети Х.25.

Если рабочая станция WS1 направляет пакет на файловый сервер FS4, то маршрутизатор R1 должен выбрать оптимальный маршрут передачи: R1-R2-R4-FS4 или R1-R3-R2-R4-FS4.

В маршрутизаторах фирмы Novell используются два метода маршрутизации:

  • дистанционный векторный метод на базе протокола RIP (продукт NetWare MultiProtocol Router 2.1 - MPR v.2.1),
  • анализ состояния соединений на базе протокола NLSP (продукт NetWare MultiProtocol Router 3.0 - MPR v.3.0).

Продукты MPR v.2.1 и v.3.0 могут функционировать на файловом сервере или на выделенной рабочей станции.

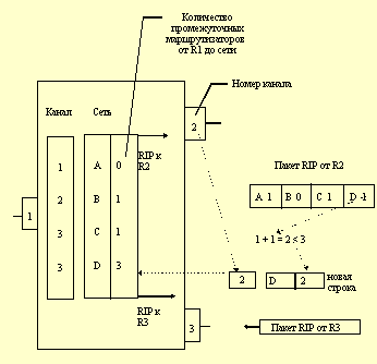
Рассмотрим принципы работы маршрутизатора на базе MPR v.2.1 (рисунок 2.20). Здесь используется протокол RIP (Routing Information Protocol).

Предположим, что на маршрутизатор R1 поступает от WS1 пакет IPX, направляемый на файловый сервер FS4 (рисунок 2.19). R1 извлекает из заголовка пакета номер сети (D) станции-получателя и выполняет поиск строки в таблице "Сеть" (на рисунке номера сетей представлены в виде идентификаторов A, B, C, D). После этого из соответствующей строки таблицы "Канал" (в данном примере из последней) читается номер канала, куда и направляется пакет. Для данного примера пакет направляется через 3-ий канал (порт) маршрутизатору R3, где будут выполнены аналогичные действия.

Рис. 2.19. Пример объединения сегментов ЛВС с помощью маршрутизаторов

В таблице "Сеть" для каждого номера сети хранится критерий передачи пакета от данного маршрутизатора до соответствующего сегмента. Значение этого критерия совпадает с числом промежуточных маршрутизаторов до сегмента. Таблица "Сеть" используется для формирования поля данных пакета RIP. Этими пакетами соседние маршрутизаторы обмениваются между собой (примерно один раз в минуту). RIP-пакет представляет собой IPX-пакет с гнездом 0х0453 и типом пакета 1.

Рис. 2.20. Схема работы маршрутизатора на базе MPR v.2.1

Рассмотрим, как происходит обновление строк в таблицах "Сеть" и "Канал" маршрутизатора.

Предположим, что на R1 поступил RIP-пакет от маршрутизатора R2, и значение критерия передачи данных от R2 до сети D равно 1 (это значение передаётся в RIP-пакете). Далее маршрутизатор R1 вычисляет новое значение критерия для передачи данных от R1 до сети D. Оно будет равно

1(промежуточный маршрутизатор R2) + 1(критерий передачи данных от R2 до сети D) = 2.

Это число сравнивается со старым значением, равным 3. Так как значение нового критерия (2) меньше старого, то происходит обновление строк таблиц "Сеть" и "Канал" для сети D (рисунок 2.20). Теперь пакет, передаваемый от станции WS1 на файловый сервер FS4, будет направляться маршрутизатором R1 во 2-ой канал.

Таким образом, RIP-пакеты обеспечивают динамическое изменение маршрутов передачи пакетов, вызванное изменением состояния сети (подключение или отключение маршрутизаторов, аварийное состояние канала передачи и т. д.). Недостатком маршрутизации на базе RIP-пакетов является широковещательный характер этих пакетов.

Рассмотрим принципы работы маршрутизатора на базе MPR v.3.0 (рисунок 2.21). Здесь используется протокол NLSP (Network Link Services Protocol).

Рис. 2.21. Схема работы маршрутизатора на базе MPR v.3.0

В начале своей работы маршрутизатор выполняет опрос узлов сети и автоматически строит карту сети на уровне маршрутизаторов и файловых серверов сети. Можно вручную задать цену каждой связи. На основе этой карты маршрутизатор формирует оптимальную таблицу маршрутизации.

Предположим, что от WS1 на R1 поступает пакет IPX, направляемый на файловый сервер FS4. Маршрутизатор извлекает из заголовка пакета номер сети станции-получателя, выполняет поиск строки в таблице маршрутизации (для этого примера D, 2) и направляет пакет в соответствующий канал (в данном случае 2).

После поступления NLSP-пакета маршрутизатор выполняет обновление карты сети и таблицы маршрутизации. Карта сети строится и хранится каждым маршрутизатором, что делает ненужным постоянный широковещательный обмен маршрутной информацией до тех пор, пока не будет изменена конфигурация сети. По утверждению специалистов Novell этот более эффективный метод информационного обмена между маршрутизаторами может обеспечить снижение сетевого трафика до 40%.

Предыдущая глава || Оглавление || Следующая глава

IT-консалтинг Software Engineering Программирование СУБД Безопасность Internet Сети ОС Hardware

CITForum © 1997–2025