CITForum Море(!) аналитической информации!
IT-консалтинг Software Engineering Программирование СУБД Безопасность Internet Сети ОС Hardware

Пользовательская операционная среда файлового сервера

Каждый раз, когда клиент регистрируется в сети, выполняется ряд команд, настраивающих для него сетевую среду. Совокупность этих команд называется процедурой регистрации (Login Script). Эти процедуры создаёт администратор сети, а иногда и сам клиент.

Процедуры регистрации выполняются на рабочей станции утилитой LOGIN. После того, как эта утилита запросит имя регистрации и пароль и удостоверится, что пользователь может работать в сети, она начинает читать процедуры регистрации и выполнять указанные в них команды.

Процедуры регистрации могут быть четырёх типов:

  • системная,
  • профильная (только для NetWare 4.х),
  • пользовательская,
  • по умолчанию.

На рисунке 3.2 представлена схема выполнения процедур регистрации в NetWare 3.х.

Рис. 3.2. Схема выполнения процедур регистрации в NetWare 3.12

Системная процедура регистрации NetWare 3.12 хранится в файле SYS:PUBLIC\NET$LOG.DAT. Пользовательская процедура регистрации (файл login) хранится в подкаталоге каталога MAIL тома SYS. Этот подкаталог создаётся для каждого пользователя, и его имя совпадает с шестнадцатеричным идентификатором этого пользователя. Процедура регистрации по умолчанию является частью программы LOGIN и содержит команду MAP, планирующую поисковый драйв на каталог SYS:PUBLIC. Создание и модификация процедур регистрации выполняется с помощью утилиты SYSCON.

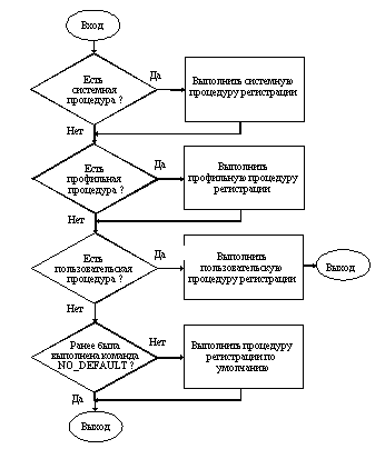
На рисунке 3.3 представлена схема выполнения процедур регистрации в NetWare 4.х.

Рис. 3.3. Схема выполнения процедур регистрации в NetWare 4.х

В NetWare 4.х системная процедура регистрации хранится как свойство Login Script контейнерного объекта, непосредственно в котором описан объект пользователя (на рисунке 2.59 для пользователя User это контейнер CLASS). Профильная процедура регистрации выполняется после системной, но перед пользовательской процедурой регистрации. Она описывается как свойство Login Script объекта Profile. Пользовательская процедура регистрации хранится как свойство Login Script объекта пользователя (User). В этом же свойстве можно указать на требуемый объект Profile. Процедура регистрации по умолчанию выполняется, если в системной или профильной процедуре не была выполнена команда NO_DEFAULT.

В таблице 3.7 перечислены команды, которые можно использовать в процедурах регистрации.

Таблица 3.7. Команды процедур регистрации
КомандаОписание
#[путь]имя_файла[параметры]Запустить на рабочей станции резидентную программу.
ATTACH[сервер[/имя[;пароль]]]Подключиться к другому серверу 3.х или 4.х.
BREAK ON | OFFРазрешить (ON) или запретить (OFF) пользователю прерывать процедуру регистрации по Ctrl-Break или Ctrl-С.
CLSОчистить экран рабочей станции.
COMSPEC=[путь]COMMAND.COMУказывает каталог, который будет использован DOS для повторных загрузок командного процессора (используется для удалённых рабочих станций).
CONTEXT контекстИспользуется в NetWare 4.х для смены текущего контекста в дереве NDS.
[F]DISPLAY [путь]имя_файлаВывести на экран содержимое файла.
DOS BREAK [ON | OFF]Включает (ON) или выключает (OFF) проверку нажатия клавиш Ctrl-Break и Ctrl-C при выполнении программ в DOS.
[TEMP] SET переменная="значение"Используется для настройки переменных DOS и OS/2.
DOS VERIFY [ON | OFF]Используется для включения (ON) или отключения (OFF) режима проверки чтением после записи данных на локальные диски рабочей станции.
DRIVE драйв: | *n:Сменить текущий драйв.
EXIT ["[путь]файл[параметры]"]Прервать выполнение процедуры регистрации и запустить внешнюю программу.
FIRE nИспользуется для имитации звука выстрела бластера.
GOTO метка
...........
метка:
Продолжить выполнение процедуры регистрации с определённой метки.
IF условие THEN
команды
[ELSE
команда]
END
Выполнить часть команд процедуры регистрации в зависимости от истинности условия. В условии, как правило, используются переменные процедуры регистрации (NetWare поддерживает более 30 переменных).
INCLUDE [путь]имя_файлаВключить дополнительную процедуру регистрации.
LASTLOGINTIMEИспользуется для вывода даты и времени последней регистрации в сети.
MACHINE=имяИспользуется для задания имени машины (IBM_PC и т.д.).
MAP [опция] *n:=<путь|драйв:>
MAP [опция] Sn:=<путь|драйв:>
Создать логическое или поисковое устройство.
NO_DEFAULTИспользуется в NetWare 4.х для отмены выполнения процедуры регистрации по умолчанию.
NOSWAPПредотвращает выгрузку утилиты LOGIN в расширенную память или на диск при выполнении команды #.
PAUSEПо этой команде выполнение процедуры регистрации приостанавливается до нажатия клиентом любой клавиши.
PCCOMPATIBLEЕсли тип станции не совпадает с IBM_PC, то перед командой EXIT необходимо использовать эту команду. Применяется для удалённых рабочих станций.
PROFILE имя_объектаВ NetWare 4.х определяет профильную процедуру регистрации, которая должна быть теперь выполнена.
REM[ARK] [текст]Вставить комментарий.
SET TIME [ON | OFF]Управляет синхронизацией времени сервера и рабочей станции.
SHIFT [n]Изменить нумерацию параметров, заданных в качестве аргументов утилиты LOGIN.
SWAPРазрешить выгрузку утилиты LOGIN в расширенную память или на диск при выполнении команды #.
WRITE "[текст][%переменная]"Вывести на экран сообщение.
Установка и настройка сетевой ОС NetWare 3.х и 4.х

Инсталляция файлового сервера NetWare 3.х выполняется с дискет, а NetWare 4.х - с CD-ROM (как правило). Установка NetWare 4.х проще, чем инсталляция NetWare 3.х. Некоторые специалисты считают, что одним из недостатков NetWare является более сложная процедура установки, чем в Windows NT. Рассмотрим основные шаги инсталляции NetWare 3.х и NetWare 4.х.

Ниже описана процедура установки NetWare 3.х на файловом сервере.

  1. Создать раздел DOS (5 Мб).
  2. Скопировать дискеты NetWare 3.х Operating System - 1, 2, 3 в директорию DOS.
  3. Сделать эту директорию текущей и запустить головную программу ОС SERVER.EXE.
  4. Задать имя сервера и внутренний номер сети.
  5. С помощью команды LOAD загрузить драйвер жёсткого диска (*.DSK).
  6. По команде LOAD запустить NLM-модуль INSTALL.NLM.
  7. Создать на жёстком диске раздел NetWare (пункт Disk Options).
  8. Создать и смонтировать тома раздела NetWare (пункт Volume Options).
  9. Скопировать файлы на том SYS (пункт System Options).
  10. Переключиться по клавише ALT-ESC на экран консоли файлового сервера.
  11. Загрузить драйвер сетевого адаптера. Например:
LOAD  имя_драйвера  INT=номер  PORT=адрес
Присоединить драйвер сетевого адаптера к протоколу IPX. Например:
BIND  IPX  TO  имя_драйвера
  1. Переключиться с помощью клавиши ALT-ESC обратно на экран утилиты INSTALL.NLM.
  2. Создать два файла автоматической загрузки - AUTOEXEC.NCF и STARTUP.NCF (пункт System options).
  3. Выйти из утилиты INSTALL.NLM и с помощью команды DOWN завершить работу с сервером.

Ниже описана процедура установки NetWare 4.1. В отличие от предыдущей процедуры здесь не требуется, чтобы администратор помнил последовательность выбора пунктов меню, не надо вводить команды с консоли файлового сервера и переключаться с экрана на экран. Можно выполнить простую (simple) и заказную (custom) инсталляцию NetWare 4.1. Далее приведены шаги заказной инсталляции (Custom Installation).

  1. Создать раздел DOS.
  2. Вставить диск с ОС NetWare 4.1 в устройство CD-ROM и запустить файл INSTALL.BAT.
  3. Из меню выбрать язык, на который настраивается файловый сервер.
  4. Выбрать пункт меню "NetWare Server Installation", а затем пункт "NetWare 4.1".
  5. Выбрать пункт меню "Custom Installation of NetWare 4.1".
  6. Задать имя сервера и внутренний номер сети.
  7. Подтвердить копирование файлов загрузки в раздел DOS.
  8. Специфицировать код страны, кодовую страницу, тип клавиатуры и нажать клавишу F10.
  9. Выбрать формат имени файла (рекомендуется как в DOS).
  10. Выбрать "YES", если необходимо вручную задать команды файла STARTUP.NCF.
  11. Выбрать "YES", если требуется добавить строку SERVER.EXE в AUTOEXEC.BAT.

После этого программа инсталляции автоматически загружает SERVER.EXE, INSTALL.NLM и предлагает выполнить требуемые пункты меню.

  1. Выбрать из списка драйвер диска.
  2. Выбрать драйвер сетевого адаптера и указать номер прерывания и адрес порта ввода/вывода.
  3. Создать на жёстком диске раздел NetWare.
  4. Создать и смонтировать тома раздела NetWare.
  5. Вставить дискету с лицензией (License diskette) в устройство A:.
  6. С помощью клавиши Enter инициировать задание параметров для копирования файлов на том SYS.
  7. Выбрать группы копируемых файлов (OS/2, Workstation Utilities и т. д.) и нажать клавишу F10, чтобы начать копирование файлов на том SYS.
  8. Инсталлировать дерево NDS:
  • ввести имя дерева NDS,
  • определить параметры синхронизации времени (тип временного сервера, временную зону, параметры перехода на зимнее и летнее время),
  • определить контекст сервера (имя объекта типа O, где будет создан объект администратора, и имя объекта типа OU, где будут созданы объекты сервера и его томов),
  • указать имя администратора (по умолчанию Admin) и его пароль.
  • При необходимости модифицировать файлы STARTUP.NCF и AUTOEXEC.NCF.
  • Из предлагаемого списка "Choose an Item of Product Listed Above" выбрать требуемые продукты и проинсталлировать их (например, электронную документацию Dynatext, шлюз электронной почты MHS и т. д.).
  • Завершить работу файлового сервера.

    Предыдущая глава || Оглавление || Следующая глава

  • IT-консалтинг Software Engineering Программирование СУБД Безопасность Internet Сети ОС Hardware

    CITForum © 1997–2025