CITForum Море(!) аналитической информации!
IT-консалтинг Software Engineering Программирование СУБД Безопасность Internet Сети ОС Hardware

9. Работа со стеком TCP/IP в сетях Windows NT

9.1. Особенности реализации стека TCP/IP в ОС Windows NT

Так как большинство операционных систем поддерживают протоколы TCP/IP, они могут использовать этот стек протоколов как средство взаимодействия. Используя TCP/IP, Windows NT может общаться со многими операционными системами, включая

  • хосты сети Internet;
  • системы Apple Macintosh;
  • системы на базе Unix;
  • мэйнфреймы IBM;
  • компьютеры сетей DEC Pathworks;
  • принтеры с сетевыми адаптерами, непосредственно подключенные к сети.

9.1.1. Обзор стека TCP/IP

Transmission Control Protocol/Internet Protocol (TCP/IP) - это промышленный стандарт стека протоколов, разработанный для глобальных сетей.

Стандарты TCP/IP опубликованы в серии документов, названных Request for Comment (RFC). Документы RFC описывают внутреннюю работу сети Internet. Некоторые RFC описывают сетевые сервисы или протоколы и их реализацию, в то время как другие обобщают условия применения. Стандарты TCP/IP всегда публикуются в виде документов RFC, но не все RFC определяют стандарты.

Реализация стека TCP/IP в ОС Windows NT дает следующие преимущества:

  • Это стандартный корпоративный сетевой протокол, который представляет собой наиболее завершенный и популярный сетевой протокол. Все современные операционные системы поддерживают TCP/IP, а почти все большие сети передают основную часть своего трафика с помощью протокола TCP/IP.
  • Это метод получения доступа к сети Internet.
  • Это технология для соединения разнородных систем. Стек предоставляет многие стандартные средства взаимодействия для доступа и передачи данных между разнородными системами, включая протокол передачи файлов FTP и протокол эмуляции терминала Telnet. Некоторые из этих стандартных средств включены в состав Windows NT.
  • Это устойчивая масштабируемая межплатформенная среда для приложений клиентсервер. Microsoft TCP/IP предлагает интерфейс Windows Sockets, который представляет собой очень удобное средство для разработки приложений клиент-сервер. Эти приложения могут работать на стеках других производителей с интерфейсом Windows Sockets. Приложения для Windows Sockets могут также использоваться другими сетевыми протоколами такими как Microsoft NWLink или NetBIOS.

Стек TCP/IP в среде Windows NT содержит:

  • Базовые протоколы - TCP, IP, UDP, ARP, ICMP.
  • Прикладные программные интерфейсы - Windows NT Sockets для сетевого программирования, RPC - для взаимодействия между компьютерами, NetBIOS для использования логических имен и сессий в сети, сетевую версию DDE для разделения информации, встроенной в документы, по сети.
  • Сервисы прикладного уровня, включая Finger, FTP, RCP, REXEC, RSH, Telnet, TFTP. Эти сервисы позволяют пользователям Windows NT Server использовать ресурсы компьютеров с ОС, разработанными отличными от Microsoft компаниями, например, Unix.
  • Диагностические средства TCP/IP, включающие ARP, HOSTNAME, IPCONFIG, NBTSTAT, NETSTAT, PING, ROUTE. Эти утилиты используются для обнаружения и устранения сетевых проблем при работе со стеком TCP/IP.
  • SNMP - агент протокола TCP/IP. Эта компонента позволяет управлять компьютером Windows NT по сети, используя такие средства, как Sun Net Manager или HP Open View.

9.1.2. Утилиты и сервисы TCP/IP в Windows NT

Windows NT Server включает дополнительные утилиты и сервисы TCP/IP:

  • DHCP - обеспечивает автоматическое конфигурирование параметров стека TCP/IP в средах Windows NT Server, Windows NT Workstation, Windows for Workgroups и сетевых клиентов производства компании Microsoft.
  • WINS - динамически регистрирует имена компьютеров и поддерживает их соответствие IP-адресам.
  • LPDSVC - обеспечивает доступ к принтерам работающим в среде Unix.
  • Функция наблюдения для сервера FTP позволяет регистрировать все FTP-операции.

Кроме того, к Windows NT Server добавлен ряд дополнительных простых TCP/IP-протоколов, к которым относятся:

  • ECHO - возвращает любые получаемые данные назад источнику.
  • DISCARD - отбрасывает любые получаемые данные.
  • CHARGER - это генератор символов, который отправляет данные, не обращая внимания на получаемые данные. Хотя эти данные могут быть любыми, рекомендуется использовать некоторые образцы.
  • QUOTE - отсылает короткую цитату дня. Эта цитата может извлекаться из пользовательского файла цитат или из файла цитат, который поставляется вместе с данным сервисом.
  • DAYTIME - отсылает текущее значение даты и времени в виде символьной строки, без учета получаемых данных.

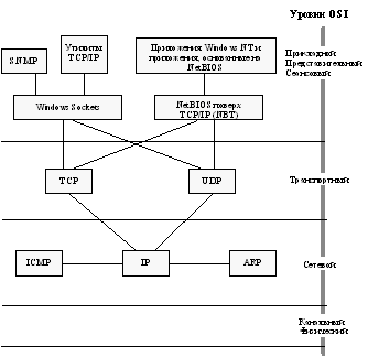
В качестве основного протокола сетевого уровня (в терминах модели OSI) в стеке используется протокол IP, который изначально проектировался как протокол передачи пакетов в составных сетях, состоящих из большого количества локальных сетей, объединенных как локальными, так и глобальными связями. Поэтому стек TCP/IP хорошо работает в сетях со сложной топологией, рационально используя наличие в них подсистем и экономно расходуя пропускную способность низкоскоростных глобальных линий связи.

Основные функции протокола IP - маршрутизация пакетов, а также сборка и разборка пакетов. Последняя функция необходима в том случае, когда пакеты формируются в одной сети и передаются через другую сеть, максимальная длина пакета в которой меньше. Протокол IP является датаграммным протоколом.

К этому же уровню относится и протокол межсетевых управляющих сообщений ICMP (Internet Control Message Protocol). Этот протокол предназначен для обмена информацией об ошибках между маршрутизатором или шлюзом, системой-источником и системой-приемником, то есть для организации обратной связи. С помощью специальных пакетов ICMP сообщается о невозможности доставки пакета, превышении времени жизни или продолжительности сборки пакета из фрагментов, об аномальных величинах параметров, об изменении маршрута пересылки и типа обслуживания, запросы-ответы о состоянии системы и т.п.

На более высоком уровне функционируют протокол управления передачей TCP (Transmission Control Protocol) и протокол дейтаграмм пользователя UDP (User Datagram Protocol). Протокол TCP обеспечивает устойчивое виртуальное соединение между удаленными прикладными процессами. Протокол UDP обеспечивает передачу прикладных пакетов датаграммным методом, то есть без установления виртуального соединения, и поэтому требует меньших накладных расходов, чем TCP.

Самый верхний уровень стека TCP/IP называется прикладным. За долгие годы использования в сетях различных стран и организаций стек TCP/IP накопил большое количество протоколов и сервисов прикладного уровня. К ним относятся такие широко используемые протоколы, как протокол пересылки файлов FTP, протокол эмуляции терминала telnet, почтовый протокол SMTP, используемый в электронной почте сети Internet, гипертекстовые сервисы доступа к удаленной информации, такие как WWW и многие другие.

Рис. 9.1. Стек протоколов Microsoft TCP/IP

Протокол SNMP (Simple Network Management Protocol) используется для организации сетевого управления. Модель управления в семействе TCP/IP разделяет проблему управления на две части. Первая часть связана с передачей информации. Протоколы передачи управляющей информации определяют, как программа-клиент, работающая на хосте администратора, взаимодействует с сервером. Они определяют формат и смысл сообщений, которыми обмениваются клиенты и серверы, а также форматы имен и адресов. Вторая часть связана с контролируемыми данными. Стандарты регламентируют, какие данные должны сохраняться и накапливаться в серверах, имена этих данных и синтаксис этих имен. В стандарте SNMP определена спецификация информационной базы данных управления сетью. Эта спецификация, известная как база данных MIB (Management Information Base), определяет те элементы данных, которые хост или шлюз должен сохранять, и допустимые операции над ними.

Протокол управления сетью SNMP определяет правила взаимодействия между программой-клиентом системы управления сетью, с которой работает администратор, и программой-сервером, собирающей информацию.

Протокол пересылки файлов FTP (File Transfer Protocol) реализует удаленный доступ к файлу. Он может использоваться приложениями и пользователями для передачи файлов по сети. Для того, чтобы обеспечить надежную передачу, FTP использует в качестве транспорта протокол с установлением соединений - TCP. Однако, кроме пересылки файлов, протокол FTP предлагает и другие услуги. Так, пользователю предоставляется возможность интерактивной работы с удаленной машиной, например, он может распечатать содержимое ее каталогов. Кроме того, FTP позволяет пользователю указывать тип и формат запоминаемых данных. Наконец, FTP выполняет аутентификацию пользователей. Прежде, чем передать требуемый файл, в соответствии с протоколом пользователи должны сообщить свое имя и пароль.

Хотя FTP является наиболее общим протоколом передачи файлов в стеке TCP/IP, он является и самым сложным для программирования. Приложения, которым не требуются все возможности FTP, могут использовать другой, более экономичный протокол - простейший протокол пересылки файлов TFTP (Trivial File Transfer Protocol). Этот протокол реализует только передачу файлов, причем в качестве транспорта используется более простой, чем TCP, протокол без установления соединения - UDP.

Протокол telnet обеспечивает передачу потока байтов между процессами, а также между процессом и терминалом. Наиболее часто этот протокол используется для эмуляции терминала удаленной ЭВМ. Для обеспечения такой передачи в протоколе telnet терминалам предоставляется широкий спектр средств обслуживания.

Протоколы канального, сетевого и транспортного уровней реализуются в Windows NT, как и в большинстве других сетевых операционных систем, в виде драйверов. Протоколы прикладного уровня стека TCP/IP реализованы в Windows NT в виде утилит, которые работают в режиме командной строки (кроме утилиты telnet). Некоторые вспомогательные утилиты реализуют протоколы или некоторые функции протоколов нижних уровней, таких как ICMP или ARP. Имеются также утилиты, не реализующие коммуникационные протоколы, а отображающие информацию о конфигурации стека TCP/IP или сессии TCP/IP.

Утилиты TCP/IP

  • PING - проверяет конфигурацию и тестирует соединения.
  • FTP - обеспечивает двунаправленную передачу файлов между компьютерами Windows NT и хостами TCP/IP с использованием протокола UDP.
  • Telnet - обеспечивает эмуляцию терминала.
  • Remote Copy Protocol (RCP) - копирует файлы между компьютером Windows NT и Unix-хостом.
  • Remote Shell (RSH) - запускает команды на удаленном Unix-хосте.
  • Remote Execution (REXEC) - запускает процесс на удаленном компьютере.
  • Finger - получает системную информацию от удаленного компьютера, который поддерживает сервис Finger.
  • ARP - показывает содержимое локального кэша, в котором хранится информация о соответствии IP-адресов МАС-адресам.
  • IPCONFIG - отображает текущую конфигурацию стека TCP/IP.
  • NBTSTAT - показывает список имен компьютеров протокола NetBIOS, которые отображены на IP-адреса.
  • NETSTAT - показывает информацию о сессии TCP/IP.
  • ROUTE - отображает или модифицирует таблицу маршрутизации.
  • HOSTNAME - возвращает имя компьютера, на котором выполняется эта команда.

9.2. Инсталляция и конфигурирование стека TCP/IP

Для использования стека TCP/IP в среде Windows NT Server необходимо сконфигурировать три параметра :

  • IP-адрес (IP-address) - 32-битовый логический адрес, который идентифицирует TCP/IP-хост
  • маска подсети (subnet mask) - используется для выделения части IP-адреса, соответствующей номеру сети. Когда хост хочет взаимодействовать с другим хостом, то маска подсети используется для того, чтобы определить, принадлежит ли другой хост данной сети или удаленной.
  • маршрутизатор по умолчанию (default gateway) - для взаимодействия с хостом, принадлежащим другой сети, необходимо указать IP-адрес маршрутизатора, с помощью которого можно достичь указанной сети. Если конкретный маршрут к указанной сети не известен, то используется маршрутизатор по умолчанию. Если маршрутизатор по умолчанию не задан, то взаимодействие ограничивается только локальной сетью. Пользователь может добавить статические маршруты с помощью утилиты route, чтобы определить маршрут к конкретной системе. Статические маршруты всегда имеют приоритет перед маршрутами по умолчанию. Для надежности можно определить несколько маршрутизаторов по умолчанию.

Ручное конфигурирование этих параметров необходимо только в том случае, если для этих целей не используется сервер DHCP, описанный в разделе

Тестирование стека TCP/IP с помощью утилиты Ping

Ping (Packet Internet Gropper) - это диагностическое средство, используемое для тестирования конфигурации сети TCP/IP и диагностики ошибок соединения. Ping использует сообщения echo request и echo reply протокола ICMP, для того чтобы определить, доступен ли хост с определенным адресом и работоспособен ли он. Если Ping завершается успешно, то он выдает следующее сообщение:

Reply from IP_address

Для проверки корректности конфигурации вашего компьютера и тестирования соединения с маршрутизатором необходимо выполнить следующие действия.

  1. Выполните команду Ping с адресом обратной связи для того, чтобы проверить, что стек TCP/IP установлен правильно:
    ping 127.0.0.1
    
  2. Выполните команду Ping с IP-адресом вашего компьютера для проверки возможного дублирования IP-адресов:
    ping IP-адрес вашего компьютера
    
  3. Выполните команду Ping с IP-адресом маршрутизатора по умолчанию:
    ping IP-адрес маршрутизатора по умолчанию
    
  4. Выполните команду Ping с IP-адресом удаленного хоста, чтобы проверить, что вы можете осуществлять взаимодействие через маршрутизатор:
    ping IP-адрес вашего хоста
    

9.3. Использование службы DHCP для автоматической конфигурации сети

Назначение IP-адресов представляет для администратора утомительную процедуру. Ситуация усложняется еще тем, что многие пользователи не обладают достаточными знаниями для того, чтобы конфигурировать свои компьютеры для работы в интерсети и должны поэтому полагаться на администраторов. Протокол Dynamic Host Configuration Protocol (DHCP) был разработан для того, чтобы освободить администратора от этих проблем. DHCP обеспечивает надежный и простой способ конфигурации сети TCP/IP, гарантируя отсутствие конфликтов адресов за счет централизованного управления их распределением. DHCP динамически распределяет IP-адреса для компьютеров. Администратор управляет процессом назначения адресов с помощью параметра "продолжительности аренды" (lease duration), которая определяет, как долго компьютер может использовать назначенный IP-адрес, перед тем как снова запросить его от сервера DHCP в аренду.

Примером работы протокола DHCP может служить ситуация, когда компьютер, являющийся клиентом DHCP, удаляется из подсети. При этом назначенный ему IP-адрес автоматически освобождается. Когда компьютер подключается к другой подсети, то ему автоматически назначается новый адрес. Ни пользователь, ни сетевой администратор не вмешиваются в этот процесс. Это свойство очень важно для мобильных пользователей.

Протокол DHCP использует модель клиент-сервер (рисунок 9.2). Во время старта системы (состояние "инициализация") компьютер-клиент DHCP посылает сообщение discover (исследовать), которое широковещательно распространяется по локальной сети и передается всем DHCP-серверам частной интерсети. Каждый DHCP-сервер, получивший это сообщение, отвечает на него сообщением offer (предложение), содержащее IP-адрес и конфигурационную информацию.

Рис. 9.2. Клиенты сервиса DHCP

Компьютер-клиент DHCP переходит в состояние "выбор" и собирает конфигурационные предложения от DHCP-серверов. Затем он выбирает одно из этих предложений, переходит в состояние "запрос" и отправляет сообщение request (запрос) тому DHCP-серверу, чье предложение было выбрано.

Выбранный DHCP-сервер посылает сообщение DHCP-acknowledgment (подтверждение), которое содержит IP-адрес, который уже был послан ранее на стадии исследования, а также параметр аренды для этого адреса. Кроме того, DHCP-сервер посылает параметры сетевой конфигурации. После того, как клиент получит это подтверждение, он переходит в состояние "связь", находясь в котором он может принимать участие в работе сети TCP/IP. Компьютеры-клиенты, которые имеют локальные диски, сохраняют полученный адрес для использования при последующих стартах системы. При приближении момента истечения срока аренды адреса компьютер пытается обновить параметры аренды у DHCP-сервера, а если этот IP-адрес не может быть выделен снова, то ему возвращается другой IP-адрес.

Серверы DHCP управляются централизованно с помощью утилиты DHCP Manager.

Для того, чтобы клиентский компьютер получал параметры стека от сервера DHCP, необходимо в параметрах стека TCP/IP отметить опцию "Obtain an IP address from DHCP server".

После перезагрузки компьютер получит IP-адрес от сервера DHCP.

9.4. Многопротокольная маршрутизация

Многопротокольная маршрутизация в Windows NT Server реализуется маршрутизатором MPR. Этот маршрутизатор выполняет динамическую маршрутизацию по протоколам IP и IPX с использованием протокола обмена маршрутной информацией RIP.

Маршрутизатор MPR включен в состав дистрибутива систем Windows NT Server и Windows NT Workstation 4.0.

На сервере www.microsoft.com находится также более мощный вариант маршрутизатора SteelHead, который наряду с RIP поддерживает также и OSPF.

9.5. Использование служб имен DNS и WINS в сетях Windows NT

9.5.1. Способы разрешения имен в сетях Windows

Конфигурирование стека TCP/IP в среде Windows NT связано с назначением IP-адреса и имени компьютера, которые уникально идентифицируют каждый компьютер в сети. Для сети TCP/IP и сети Internet используется составное имя компьютера - это глобально известное системное имя плюс имя домена DNS. (В локальной сети Microsoft имя компьютера - это имя в стиле протокола NetBIOS, которое было определено во время инсталляции Windows NT.)

Для идентификации друг друга компьютеры используют IP-адреса, но пользователи обычно предпочитают работать с именами компьютеров. Следовательно, в сети TCP/IP должен быть предусмотрен механизм для установления соответствия между именами и IP-адресами. Для того, чтобы обеспечить уникальность как имени, так и адреса, компьютер Windows NT, использующий TCP/IP, регистрирует свое имя и IP-адрес во время старта системы. Компьютер Windows NT может использовать один или несколько из следующих методов для того, чтобы обеспечить корректное разрешение имен в интерсетях TCP/IP.

  • Windows Internet Name Service (WINS)

    Компьютеры Windows NT могут использовать сервис WINS, если в сети имеется один или несколько серверов WINS, которые содержат динамическую базу данных, отображающую имена компьютеров на IP-адреса. WINS может использоваться в сочетании с широковещательным разрешением имен для интерсети, в которой другие методы разрешения имен не работают. Как описывается в следующем разделе, WINS - режим работы NetBIOS поверх TCP/IP, определенный в RFC 1001/1002 как режим p-node.

  • Широковещательное разрешение имен

    Компьютеры Windows NT могут также использовать широковещательное разрешение имен, которое представляет собой режим работы NetBIOS поверх TCP/IP, определенный в RFC 1001/1002 как режим b-node. Этот метод основан на том, что компьютер посылает широковещательные сообщения IP-уровня для регистрации своего имени в сети. Каждый компьютер этой широковещательной области следит за тем, чтобы регистрируемое имя не дублировалось. Все они также отвечают на запросы о собственных именах.

  • Разрешение имен с помощью DNS

    В Windows NT 4.0 реализован клиент службы DNS (Domain Name System). Служба DNS обеспечивает способ просмотра отображения имен при подключения компьютеров к посторонним (не Windows NT) хостам, в которых работают DNS-серверы. Эта служба предназначена для тех случаев, когда подключение осуществляется путем использования NetBIOS поверх TCP/IP или для приложений, использующих интерфейс Windows Sockets, таких как FTP. DNS - это распределенная база данных, разработанная для решения задач направления трафика, которые возникли во время быстрого роста сети Internet в начале 80-х годов.

  • Файл LMHOSTS, в котором задается соответствие имен протокола NetBIOS и IP-адресов, или использование файла HOSTS, в котором задается соответствие DNS-имен и IP-адресов.

    Файл HOSTS используется приложениями, работающим с интерфейсом Windows Sockets, а файл LMHOSTS используется приложениями, работающими с интерфейсом NetBIOS поверх TCP/IP. Файл LMHOSTS используется обычно для разрешения имен в сетях небольшого масштаба, где служба WINS не установлена.

9.5.2. Разрешение имен в протоколе NetBIOS поверх TCP/IP

NetBIOS поверх TCP/IP - это сетевой сервис сессионного уровня, который выполняет отображение имен в IP-адреса.

Режимы работы NetBIOS поверх TCP/IP определяют способ идентификации сетевых ресурсов и доступа к ним. Имеется два аспекта функционирования этого механизма: регистрация- фиксация уникального имени для каждого компьютера сети и разрешение - получение адреса по имени.

В протоколе NetBIOS поверх TCP/IP используются следующие режимы:

  • b-node, при котором для разрешения имен используются широковещательные сообщения;
  • p-node, при котором для разрешения имен используется взаимодействие типа точка-точка с сервером имен WINS, который представляет собой улучшенный вариант сервера NetBIOS Name Server (NBNS);
  • m-node, при котором сначала используется режим b-node, а затем p-node, если широковещательный запрос не смог разрешить имя;
  • h-node, при котором сначала используется режим p-node, а затем b-node, если сервер имен недоступен или в его базе данных отсутствует запрашиваемое имя.

В сети Windows NT пользователям сервиса DHCP тип режима разрешения имени назначается сервером DHCP. Если в сети имеются серверы WINS, то протокол NetBIOS поверх TCP/IP разрешает имена путем взаимодействия с сервером WINS. Когда серверы WINS отсутствуют, протокол NetBIOS поверх TCP/IP использует для разрешения имен широковещательный режим b-node. Протокол NetBIOS поверх TCP/IP в среде Windows NT может также использовать файлы LMHOSTS и службу DNS для разрешения имен в зависимости от того, как сконфигурирован стек TCP/IP на конкретном компьютере. В Windows NT 3.5 модуль NETBT.SYS обеспечивает работу протокола NetBIOS поверх TCP/IP, при этом поддерживаются все перечисленные выше режимы.

Сервер DHCP в Windows NT Server позволяет гибко управлять назначением IP-адресов, комбинируя для одной и той же подсети диапазоны динамически и статически выделяемых адресов. Сервер RAS также может быть клиентом сервиса DHCP, получая от него IP-адреса для удаленных компьютеров.

Кроме IP-адреса сервер DHCP может также передать своему клиенту и другую информацию, необходимую для корректной работы стека TCP/IP:

  • IP-адрес серверов WINS
  • IP-адрес серверов DNS
  • IP-адрес маршрутизатора по умолчанию
  • имя домена DNS, которое нужно добавлять к плоскому имени компьютера

Для того, чтобы запросы и ответы протокола DHCP нормально циркулировали между серверами и клиентами DHCP, разделенными маршрутизаторами, эти маршрутизаторы должны поддерживать спецификацию RFC 1542. Программный маршрутизатор MPR, работающий в составе стека TCP/IP Windows NT Server, поддерживает спецификацию RFC 1542 (DHCP/BOOTP relay agent).

9.5.3. Служба имен WINS

WINS представляет собой распределенную базу данных, предназначенную для регистрации и динамического отображения имен компьютеров в IP-адреса в маршрутизируемой сетевой среде. Служба WINS уменьшает интенсивность локальных широковещательных сообщений, связанных с разрешением имен, и позволяет пользователям легко обнаруживать нужный компьютер в удаленных сетях. Кроме того, когда служба DHCP динамически изменяет адрес компьютера, то эти изменения автоматически переносятся в базу данных WINS. Ни пользователь, ни сетевой администратор не принимают никакого участия в этом процессе.

Служба WINS состоит из двух компонент: сервера WINS, который обрабатывает запросы о именах и регистрирует их, и клиентской части, которая посылает запросы на разрешение имен (рисунок 9.3).

Сетевые клиенты Windows (Windows NT или Windows for Workgroups) могут использовать службу WINS непосредственно. Компьютеры, не поддерживающие службу WINS, но использующие широковещательный режим b-node, могут получать доступ к службе WINS через посредников. Эти посредники представляют собой поддерживающие службу WINS компьютеры, которые воспринимают широковещательные запросы на разрешение имен, а затем отвечают на имена, которые не принадлежат локальной подсети или принадлежат компьютерам, поддерживающим только режим p-node.

Рис. 9.3. Взаимодействие клиента и сервера WINS

В сети Windows NT пользователи могут осуществлять прозрачный просмотр сети через маршрутизаторы. Для того, чтобы обеспечить просмотр в отсутствие серверов WINS, сетевой администратор должен сделать так, чтобы первичный домен имел Windows NT Server или Windows NT Workstation с обеих сторон маршрутизатора, которые бы действовали как главные просмоторщики (Master browsers). В этих компьютерах необходимо правильно сконфигурировать файлы LMHOSTS, в которых должны быть записи о просмоторщике в других подсетях.

При наличии серверов WINS такая стратегия не является необходимой, так как серверы WINS и компьютерыпосредники обеспечивают прозрачность, необходимую для просмотра ресурсов через маршрутизаторы (когда домен включает маршрутизаторы).

На рисунке 9.4 изображена небольшая интерсеть, состоящая из трех локальных сетей, соединенных двумя маршрутизаторами.

Две из этих подсетей содержат серверы WINS, которые могут использоваться клиентами обеих подсетей. Поддерживающие службу WINS компьютеры, включая посредников, непосредственно обращаются к серверу WINS, а компьютеры, использующие широковещательный сервис, обращаются к серверу WINS через посредников. Посредники только передают пакеты с запросами имен и проверяют, что регистрируемое имя не дублируется в базе данных WINS. Однако, посредники не регистрируют компьютеры типа b-node в базе данных WINS.

Рис. 9.4. Клиенты сервиса WINS

Компьютер-посредник взаимодействует с сервером WINS для разрешения имен (а не поддерживает собственную базу данных), а затем кэширует имена на определенное время. Посредник действует как промежуточный элемент, взаимодействуя либо с сервером WINS, либо поставляя отображение имя - IP-адрес из своего кэша. Рисунок 9.4 иллюстрирует взаимоотношения между сервером WINS и клиентами, основанные на использовании компьютеров-посредников для клиентов, не поддерживающих службу WINS.

Как показано на рисунке, компьютер ClientA устанавливает соответствие символьных имен IP-адресам, для этого он сначала запрашивает серверы WINS, а если эта попытка оказывается неудачной, то он использует широковещательные запросы. Компьютер ClientB, который не поддерживает службу WINS, может использовать для разрешения имен только широковещательные запросы. Когда компьютер ClientC получает такой запрос, то он передает его в соответствующей форме серверу WINS, а затем возвращает полученный адрес компьютеру ClientB.

При разрешении имен в сложных сетях возникают дополнительные проблемы. Например, если интерсеть состоит из двух подсетей, причем все компьютеры, относящиеся к домену А, присоединены к подсети 1, все компьютеры домена В - присоединены к подсети 2, а компьютеры домена С присоединены частично к одной, частично к другой подсети. В этом случае при отсутствии службы WINS компьютеры домена А могут просматривать подсеть 1, компьютеры домена В могут просматривать подсеть 2, а компьютеры домена С могут просматривать обе подсети до тех пор, пока имеется первичный контроллер домена для домена С. При наличии службы WINS компьютеры всех доменов могут просматривать все подсети, если их серверы WINS разделяют свои базы данных.

Если клиентский компьютер Windows NT поддерживает протокол DHCP и администратор установил сервер WINS, как часть этого протокола, то компьютер автоматически конфигурируется с базой данных WINS. Если компьютер не поддерживает DHCP, то адреса для службы WINS нужно задавать посредством диалогового окна "TCP/IP Configuration". Если вы хотите, чтобы компьютер работал как посредник протокола WINS, то нужно установить опцию enable WINS Proxy Agent в окне диалога "Advanced Microsoft TCP/IP Configuration".

Если в интерсети имеются серверы WINS, то при разрешении имен используется два основных метода, в зависимости от того, поддерживается или нет протокол WINS на каждом отдельном компьютере. Независимо от того, какой метод разрешения используется, этот процесс прозрачен для пользователя после конфигурирования системы.

Протокол WINS не поддерживается. Компьютер регистрирует свое имя путем широковещательной рассылки пакетов name registration request (запрос регистрации имени) по локальной подсети с помощью дейтаграмм протокола UDP. Для того, чтобы найти адрес конкретного компьютера, компьютер, не поддерживающий протокол WINS, широковещательно распространяет пакеты name query request (запрос разрешения имени) по локальной подсети, эти пакеты не передаются через IP-маршрутизаторы. Если на этот запрос не приходит ответ, то используются данные из файла LMHOSTS. Описанный процесс происходит независимо от того, является ли данный компьютер сервером или рабочей станцией.

Протокол WINS поддерживается. В этом случае компьютер выполняет следующие действия:

  1. Во время конфигурации стека TCP/IP имя компьютера регистрируется в сервере WINS, а IP-адрес сервера WINS хранится локально, так что сервер WINS может быть найден в интерсети. База данных WINS реплицируется между всеми серверами WINS интерсети.
  2. Запросы разрешения имени посылаются сначала на сервер WINS, включая запросы от удаленных клиентов, которые в этом случае маршрутизируются через IP-маршрутизатор. Эти запросы представляют собой направленные дейтаграммы UDP. Если имя содержится в базе данных WINS, то в ответ возвращается IP-адрес.
  3. Если имя не найдено в базе данных WINS, а клиентский компьютер сконфигурирован как h-node, то он использует широковещательные пакеты name query request тем же способом, что и компьютер, не поддерживающий службу WINS.
  4. Наконец, если все предыдущие методы не привели к успеху, просматривается файл LMHOSTS.

    Сервис WINS интегрируется со службой DHCP. Если компьютер одновременно является клиентом DHCP и WINS, то при получении IP-адреса от сервера DHCP соответствие имени компьютера его новому IP-адресу автоматически регистрируется в сервере WINS.

9.5.4. Служба DNS

DNS (Domain Name System) - это распределенная база данных, поддерживающая иерархическую систему имен для идентификации хостов в сети Internet. Спецификация DNS определяется стандартами RFC 1034 и 1035. Хотя служба DNS на первый взгляд может показаться похожей на службу WINS, между ними есть существенное различие. DNS требует статической конфигурации для отображения имени компьютера в IP-адрес, а WINS работает в динамическом режиме и требует гораздо меньше административных усилий.

База данных DNS имеет структуру дерева, называемого доменным пространством имен, в котором каждый домен (узел дерева) имеет имя и может содержать поддомены. Имя домена идентифицирует его положение в этой базе данных по отношению к родительскому домену, причем точки в имени отделяют части, соответствующие узлам домена.

Корень базы данных DNS управляется центром Internet Network Information Center. Домены верхнего уровня назначаются для каждой страны, а также на организационной основе. Имена этих доменов должны следовать международному стандарту ISO 3166. Для обозначения стран используются трехбуквенные и двухбуквенные аббревиатуры, а для различных типов организаций используются следующие аббревиатуры:

  • com - коммерческие организации (например, microsoft.com);
  • edu - образовательные (например, mit.edu);
  • gov - правительственные организации (например, nsf.gov);
  • org - некоммерческие организации (например, fidonet.org);
  • net - организации, поддерживающие части сети Internet (например, nsf.net).

Каждый домен DNS администрируется отдельной организацией, которая обычно разбивает свой домен на поддомены и передает функции администрирования этих поддоменов другим организациям. Каждый домен имеет уникальное имя, а каждый из поддоменов имеет уникальное имя внутри своего домена. Имя домена может содержать до 63 символов. Каждый хост в сети Internet однозначно определяется своим полным доменным именем (fully qualified domain name, FQDN), которое включает имена всех доменов по направлению от хоста к корню. Пример полного имени DNS:

citint.dol.ru.

Служба DNS использует модель клиент-сервер, в соответствии с которой серверы DNS хранят часть распределенной базы данных DNS и предоставляют эту информацию клиентам (resolver's), которые обращаются по сети с запросами о разрешении имен к серверам DNS. Серверы имен DNS - это программы, которые хранят информацию о частях доменного пространства, называемых зонами. Начиная с версии 4.0 Windows NT Server включает сервер DNS, который полностью соответствует спецификациям Internet. В Windows NT Server 4.0 сервер DNS интегрирован с WINS и снабжен графической утилитой администрирования.

Windows NT Workstation включает клиентскую часть DNS, которая используется приложениями через интерфейсы NetBIOS поверх TCP/IP или Windows Sockets.

Если локальный сервер имен не хранит адрес запрашиваемого имени, то он возвращает клиенту имена и адреса других серверов имен, которые могут знать эту информацию. Затем клиент опрашивает эти серверы имен, пока не найдет нужные отображения. Этот процесс ускоряется из-за того, что серверы имен постоянно кэшируют информацию, предоставляемую по запросам. Все программное обеспечение клиента DNS инсталлируется одновременно со стеком Microsoft TCP/IP и активизируется опцией в окне диалога конфигурации DNS. Приложения, использующие интерфейс Windows Sockets на компьютерах Windows NT Server 3.5, Windows NT Workstation 3.5 или Windows for Workgroups 3.11 с установленным стеком TCP/IP-32, могут пользоваться для разрешения имен либо службой DNS, либо сервисами протокола Net-BIOS поверх TCP/IP.

9.5.5. Интеграция WINS и DNS

Domain Name System (DNS) служит для разрешения IP-адреса по имени хоста и в традиционной реализации требует указывать статическое соответствие между именем хоста и его адресом. Структура зоны DNS обновляется всякий раз при добавлении нового хоста или перемещении его в другую подсеть. Так как DNS не динамичен, кто-то должен вручную делать изменения в базе DNS для отражения в ней происшедших перемен. Это сильно осложняет жизнь администраторов, особенно управляющих зонами с часто выполняемыми модификациями.

Стандарта на динамический вариант DNS, который мог бы принимать изменения в соответствии между именами и IP-адресами, пока нет - в настоящее время IETF его разрабатывает.

В Windows NT Server 4.0 реализовано временное решение об интеграции трех служб - DHCP, WINS и DNS. Так как WINS динамически отслеживает изменения, которые выполняет DHCP, то решено было несколько модифицировать службу DNS. Сервер DNS в Windows NT Server 4.0 может использовать для поиска имен, которые он не нашел в своей собственной базе данных, серверы WINS. Для этого у сервера DNS имеется опция "Use WINS Resolution", с помощью которой указываются IP-адреса серверов WINS, имеющихся в сети.

Для того, чтобы тройка DHCP-WINS-DNS работала корректно, необходимо использовать имена NetBIOS, которыми именуются компьютеры Windows NT и Windows 95, в качестве младшей компоненты составного имени DNS. Сервер DNS должен быть сконфигурирован так, чтобы он самостоятельно выполнял разрешение только старшей части имени, а за разрешением младшей обращался к серверу WINS.

9.6. Практические занятия

9.6.1. Инсталляция и конфигурирование стека TCP/IP с заданием IP-адресов вручную

  • Войдите в Control Panel, а затем в Network.
  • В закладке Protocols нажмите кнопку Add.
  • Выберите протокол TCP/IP.
  • В ответ на вопрос, желаете ли вы использовать DHCP-протокол, ответьте NO.
  • Continue.

Выполнится загрузка с сервера дистрибутивных файлов

  • В ответ на вопрос системы о том, желаете ли вы сконфигурировать поддержку TCP/IP для сервиса удаленного доступа, ответьте Cancel (это будет предметом отдельного практического задания).
  • В окне Network появится на ряду с другими протоколами TCP/IP.
  • Close.
  • Появится панель конфигурирования параметров стека TCP/IP.
  • В закладке IP Address выберите опцию Specify an IP Address (задание IP-адресов вручную).
    • Задайте IP-адрес компьютера, назначенный вашей машине преподавателем.
    • Маска подсети - 255.255.255.192.
    • Адрес маршрутизатора по умолчанию (Default Gateway) в данном случае не имеет смысла, так как в сети нет ни одного маршрутизатора.
    • В закладке DNS задать в поле Domain DNS-имя домена, в который входит ваш компьютер - citmgu.edu, тогда полное DNS-имя вашего компьютера выглядит, например, следующим образом.
       ws11.citmgu.edu
      
    • В поле DNS Service Search Order задать адрес компьютера, выполняющего роль DNS-сервера в нашей сети - 194.85.135.67.
    • В закладке WINS задать адрес Primary WINS Server - 194.85.135.67.
  • OK, Close.
  • Выполните Service Pack.
  • Перезагрузите компьютер.

Проверка работоспособности стека TCP/IP

  • Вызовите оболочку командной строки.
  • Выполните команду ping 127.0.0.1 - если стек установлен правильно, то на экране должно появиться четыре ответа от хоста 127.0.0.1 (это адрес обратной связи стека - пакеты по нему реально в сеть не отправляются).
  • Выполните команду ipconfig и проверьте параметры стека - IP адрес и маску.
  • Выполните команду ping 194.85.135.67 - вы должны получить четыре ответа от сервера CITNT, который имеет этот адрес.

9.6.2. Инсталляция и конфигурирование серверов FTP и WWW

Инсталляция

  • Войдите в Control Panel, а затем в Network.
  • В закладке Services нажмите кнопку Add.
  • Выберите Microsoft Information Server (Службы узла Web). ОК.
  • В поле Installed from укажите имя \\citnt\disk_d\nt40s (или \\citnt\disk_d\nt40w\i386).
  • OK.
  • OK.
  • В панели Microsoft Information Server (Службы узла Web) откажитесь от драйвера ODBC и службы Gopher. ОК.
  • Согласитесь с предложенным каталогом для установки этих серверов.
  • ОК.
  • ОК.
  • ОК.
  • Выполнится процедура инсталляции.

Конфигурирование сервера FTP

  • Выберите из главного меню Microsoft Information Server (Службы узла Web).
  • Запустите Internet Service Manager.
  • Выберите сервис FTP и в меню Properties (Свойства) пункт Service Properties.
  • В закладке Servuce убрать "галочку" в поле Allow Оnly Anonymous connections (Разрешить только анонимные связи), ОК. Это необходимо для того, чтобы пользователи домена могли входить в сервер FTP.

Проверка работоспособности сервиса FTP

  • На компьютере, отличном от того, на котором проверяется сервер FTP, войдите в какой-нибудь каталог, в котором имеются файлы средних размеров, подходящие для передачи по FTP.
  • Запустите командный процессор (MS-DOS) и наберите в командной строке команду ftp и имя компьютера, на котором установлен сервер FTP, например
ftp ws12
  • После этого сервер FTP предлагает ввести имя пользователя и пароль.
  • Введите имя одного из пользователей компьютера, на котором установлен сервер FTP, например, adm_ws12.
  • Передайте в компьютер, на котором установлен сервер FTP, несколько файлов (для передачи файла используется команда put имя_файла, а для приема - get имя_файла).
  • Убедитесь, что передача прошла успешно, распечатав содержимое каталога командой ls или ls -l .
  • Выход из севиса ftp - по команде bye.

Проверка работоспособности сервера WWW

  • Запустите Internet Explorer и обратитесь к серверу WWW на компьютере, который вы хотите проверить. То есть, если вы установили сервер WWW на компьютере ws12, то наборите URL-адрес http:\\ws12.citmgu.edu.
  • Вы должны увидеть стандартную страницу Microsoft, устанавливаемую при инсталляции.

Взаимодействие с системой Unix

  • На компьютере ws12 работает Unix (Hot Red Linux). Этот компьютер имееет псевдоним - linux (адрес 194.85.135.91). На компьютере Linux работают серверы ftp и telnet. Имя входа в эти серверы - guest с паролем citmgu.
  • Свяжитесь с компьютером linux по ftp. Передайте несколько файлов в обе стороны.
  • Свяжитесь c компьютером linux по протколу telnet - этот клиент находится в группе стандартных программ (Accessories).
  • Поработайте в среде Unix - запустите команду ps (список активных процессов), man if-config (справка по команде ifconfig, показывающей конфигурацию сетевых интерфейсов) и т.п.

9.6.3. Инсталляция и конфигурирование стека TCP/IP с автоматическим заданием IP-адресов

  • Измените способ назначения IP-адресов на Windows NT Workstation.
  • Войдите в Control Panel, а затем в Network.
  • В закладке Protocols dыберите протокол TCP/IP и нажмите кнопку Properties (Свойства).
  • В использовать DHCP-протокол, ответьте Yes.
  • В закладке IP address выберите опцию Obtain an IP address from a DHCP server (Получить IP адрес от DHCP сервера).
  • OK.

Проверка работоспособности стека TCP/IP

  • Вызовите оболочку командной строки.
  • Выполните команду ping 127.0.0.1 - если стек установлен правильно, то на экране должно появиться четыре ответа от хоста 127.0.0.1 (это адрес обратной связи стека - пакеты по нему реально в сеть не отправляются).
  • Выполните команду ipconfig с ключом /all и проверьте параметры стека - IP адрес и маску, а также другие параметры стека - адрес DNS-сервера, WINS-сервера, а также DHCP-сервера, от которого получена адресная информация.
  • Выполните команду ping 194.85.135.67 - вы должны получить четыре ответа от сервера CITNT, который имеет этот адрес
  • Проверьте обращение к ресурсам серверов FTP и WWW на контроллерах домена, у которых остались статические IP-адреса.
  • Проверьте возможность возврата IP-адреса с помощью команды ipconfig /release, а также повторного получения IP-адреса с помощью команды ipconfig /remew.

9.6.4. Установка поддержки TCP/IP в службе удаленного доступа

  • Вызовите из Control Panel группу Network, подсветите Remote Access Service и нажмите Properties. Появится панель Remote Access Setup.
  • Нажать кнопку Network.
  • В панели Network Configuration добавить протокол TCP/IP.
  • На компьютерах, которые выполняют роль серверов RAS (они же PDC) нажать кнопку Configure напротив поля TCP/IP.
  • Установить доступ ко всей сети.
  • Выбрать режим получения IP-адресов для удаленных клиентов от сервера DHCP.
  • На компьютере, выполняющем роль удаленного клиента, создать в телефоной книге запись, в которой задать протокол доступа IP с параметрами получения IP-адреса и адресов сервера имен от RAS-сервера.

Назад | Содержание | Вперед

 

IT-консалтинг Software Engineering Программирование СУБД Безопасность Internet Сети ОС Hardware

CITForum © 1997–2025